Accédez aux ressources directement depuis les compétences, savoirs, activités professionnelles, centres d'intérêt des référentiels, ainsi qu'aux sujets d'examen et séminaires nationaux.
publié le 21 mai 2024 par Olivier TOURVIEILLE
Les lanceurs réutilisables développés récemment présentent des avantages financiers très importants. La difficulté principale de la mise au point de ce type de lanceur réside dans le développement des technologies, procédures et sous-systèmes nécessaires pour la récupération de l’étage principal (premier étage) par atterrissage contrôlé.
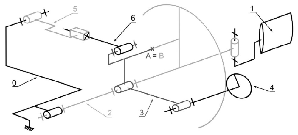
Ce sujet propose d’étudier certains aspects fondamentaux des missions utilisant des lanceurs spatiaux, pour ensuite se concentrer sur quelques éléments technologiques nécessaires au vol descendant contrôlé du premier étage d’un lanceur RETALT1. L’étude portera notamment sur le mécanisme de déploiement et de pilotage des ailettes (surfaces de contrôle utilisées en phase de descente aérodynamique).
Cette partie porte sur l’analyse de la mécanique de base d’un lancement spatial : vitesse et masse de propergol nécessaire pour une orbite donnée, justification de lanceurs à plusieurs étages ;
Cette partie concerne la phase de descente de l’étage principal, après séparation et plus particulièrement le contrôle des ailettes qui permettent de piloter la trajectoire et l’orientation ;
Cette partie s’attache à la réalisation de certaines pièces entrant dans la constitution du système d’orientation des ailettes ;
Cette partie traite de la conception de deux sous-systèmes du mécanisme de déploiement des ailettes.
Le sujet et le corrigé de cette épreuve sont également disponibles sur le site de l’UPSTI (Union des Professeurs de Sciences et Techniques Industrielles)
https://www.upsti.fr/espace-etudiants/annales-de-concours