Accédez aux ressources directement depuis les compétences, savoirs, activités professionnelles, centres d'intérêt des référentiels, ainsi qu'aux sujets d'examen et séminaires nationaux.
publié le 24 nov 2014 par Pascal DENIS
Baccalauréat professionnel MAINTENANCE NAUTIQUE
ÉPREUVE E11 – ANALYSE D’UN SYSTÈME TECHNIQUE
Durée : 3h Coef. : 2
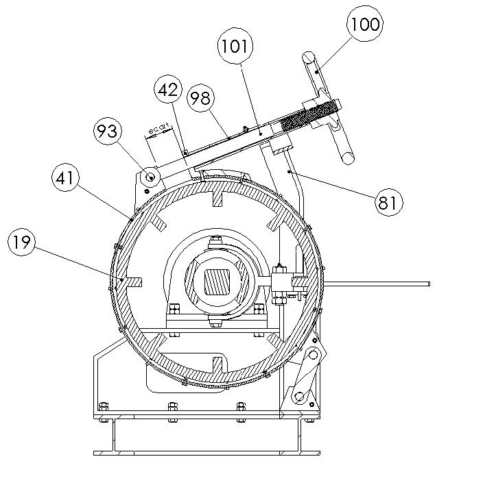
1. REPERAGE
Suite à un choc avec une grue de manutention au port, le volant bâbord et la fourchette bâbord doivent être changés.
2. DEFINITION DE LA FOURCHETTE BABORD
suite à un choc la fourchette bâbord est cassée, vous envisagez de la remplacer par un modèle équivalent. Afin de transmettre au mieux vos exigences dimensionnelles à vos fournisseurs, vous devez réaliser le plan de la fourchette.
3. ETUDE DES EFFORTS SUR LA FOURCHETTE
Lorsque le pêcheur libère le tambour bâbord, il maintient son effort afin de réaliser le verrouillage de la fourchette.
La nouvelle longueur de la fourchette engendre une augmentation des efforts dans ce cas. On demande de vérifier le dimensionnement de l’axe de pivot
4. RESISTANCE DE L’AXE DE LA FOURCHETTE
L’axe est soumis au cisaillement. Il faut donc vérifier la résistance de l’axe.
5. ETUDE DES EFFORTS SUR LE VOLANT
Suite au choc le volant bâbord est cassé, vous envisagez de le remplacer par un volant que vous avez en stock. Comme son diamètre est plus petit, vous devez calculer l’effort que le marin devra appliquer au volant pour effectuer le freinage afin de vérifier s’il sera réalisable.