Accédez aux ressources directement depuis les compétences, savoirs, activités professionnelles, centres d'intérêt des référentiels, ainsi qu'aux sujets d'examen et séminaires nationaux.
publié le 06 jan 2017 par Jean-Christophe DUCHATEAU
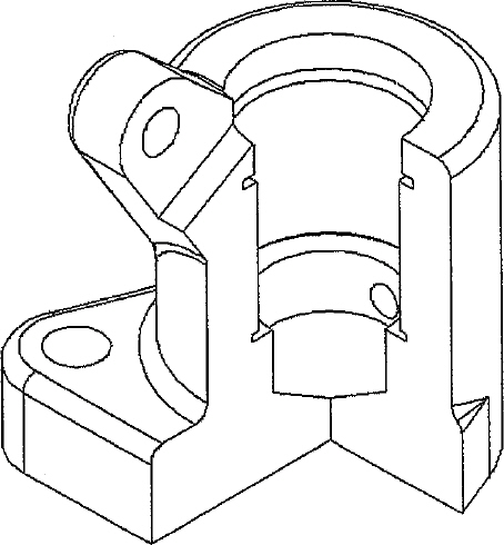
La bride hydraulique support de l'étude se trouve sur la table d'une machine outil. Elle participe (avec d'autres brides identiques) au maintien en position de la pièce à usiner par nippait à la table.
La FONCTION GLOBALE de cette bride est donc de maintenir en position la pièce à usiner.
Votre entreprise de fonderie assure la production de pièces moulées en aluminium. La fonderie possède différents secteurs :
Chantier de moulage en sable silico-argileux automatisé. Chantier de moulage en. sable à prise chimique procédé Alphaset.
Chantier de noyautage avec 2 malaxeurs de capacités de 16 et 40 Kg.
3 fours à induction. 3 fours de maintien.
Des sables. Métallographique. D'essais mécaniques.
Un client vous commande la fabrication d'une pièce, en alliage d'aluminium de désignation EN-AC Al 7 Mg 03. Dans un premier temps, une présérie de 100 pièces sera réalisée en moulage sable.
Le sujet comporte 8 parties :
1 - Méthode. 2 - Préparation sable. 3 - Moulage. 4 - Noyautage. 5 - Alliage d'aluminium. 6 - Qualité contrôle. 7 - Parachèvement. 8 - Communication technique.